2024-09-06
266次
網站運營
1、需求場景
某昆山客戶公司目前只有一位人事經理在處理員工的考勤排班事宜,不能提前預知員工上什么班次,只能夠根據企業訂單的排產情況來安排員工的班次。其中因各種情況不可控且數據量較大,員工排班、調班的操作頻繁,同時還需要結合員工的打卡情況,確認員工上的什么班次,再進行員工的調班操作。原有排班管理系統的標準調班單,不能看到員工打卡數據,人事判定起來較為困難,來回切操作界面效率比較低下,需要花費大量時間處理此項問題。

2、解決方案
通過在東寶DHG人力資源系統在工時日報定制開發批量調班功能,一方面能夠展示員工考勤排班的數據,另一方面增加批量調班的便捷功能,具體如下:
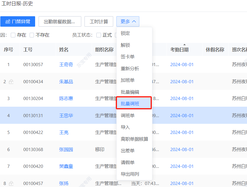
在工時日報模塊添加"批量調班"按鈕,可以在工時日報列表選擇多人,用于批量處理員工調班。

添加"日期方式"選項,若選擇"單天調班"則維護某個或某幾個具體日期的班次,變更班次;若選擇"持續調班",開始日期默認為工時日報列表選擇記錄的考勤日期,結束日期不填寫,表示從開始日期開始,一直根據新的班次進行考勤計算;結束日期填寫,表示從開始日期至結束日期,這段期間內,根據新的班次進行考勤計算。


維護好調班事由,及人員后則實現批量調班的效果。
3、應用價值
通過對排班管理模塊功能的開發,大大減少了人工排班成本,客戶公司能夠根據數據提前調整排班情況,提高流程管理效率,同時增加了系統的便捷性和用戶的體驗感。
對客戶公司排班問題的定制化處理,使得原來每月累計需要16小時左右的工作量,縮短為10小時左右可以處理完成,HR和員工滿意度大幅提升。