2024-11-05
198次
網站運營
在績效考核的實踐中,面臨了幾個關鍵挑戰,亟需引起重視并加以解決:
1、結果導向過度,過程管理缺失:當前績效考核體系過于側重最終成果的評估,而忽視了績效達成過程中的管理與指導。這種"重結果、輕過程"的傾向,不僅可能掩蓋了過程中的問題與機會,也限制了員工在過程中的成長與發展。
2、績效溝通與反饋機制不健全:缺乏有效的雙向溝通渠道和及時、具體的反饋機制,導致員工對于自身績效表現的認識不足,難以及時調整工作策略和方法。同時,也削弱了管理者在指導員工、促進績效提升方面的作用。
3、管理抓手不足,關鍵節點監控缺失:管理者在績效考核過程中,往往缺乏直接有效的工具或方法來精準定位問題、追蹤關鍵節點。這種監控的不到位,使得績效改進的方向不明確,改進效果也難以評估。
4、員工參與度與認同度低下:績效考核未能充分激發員工的參與熱情與認同感,員工可能將績效考核視為一種負擔或形式,而非個人成長和職業發展的契機。這種低參與度與低認同度,直接影響了績效考核的實效性和員工的工作積極性。
1、實施精細化目標管理:
深度目標細化與任務分解。將公司戰略目標層層分解至各部門、團隊及個人,確保每個層級的目標既緊密相連又具體可行。對于關鍵任務,進一步細化成若干子任務,明確每項子任務的輸出標準、時間節點及責任人,從而構建一張清晰的任務網絡圖。
2、動態調整機制:
建立目標執行過程中的動態調整機制,根據市場變化、項目進展及團隊能力等因素,適時調整任務目標和資源分配,確保目標達成路徑的靈活性和有效性。
3、強化績效過程監控與溝通:
集成周報、日報與績效任務。將績效任務無縫融入員工的周報、日報體系中,要求員工在提交報告時明確更新各項績效任務的進度、遇到的問題及解決方案。這樣不僅能實時跟蹤任務執行情況,還能促進管理者與員工之間的日常溝通。
4、建立績效進展會議:
定期(如每周/每兩周)召開績效進展會議,讓員工匯報任務進展,分享成功案例與挑戰,同時管理者給予指導和支持。會議應鼓勵開放討論,增強團隊間的協作與信息共享。
5、構建績效改善與學習體系:
績效改善任務制。針對績效評估中識別出的問題與不足,制定具體的績效改善任務,明確改善目標、措施及時間表。將這些任務作為員工下一周期的重點工作之一,驅動其主動尋求解決方案并持續改進。
6、學習驅動成長:
將績效改善與學習提升相結合,為員工提供針對性的培訓資源和學習機會。鼓勵員工參加內部分享會、外部培訓或自學課程,不斷提升專業技能和綜合素質。同時,建立學習成果展示機制,激勵員工將所學知識應用于實際工作中,形成良性循環。
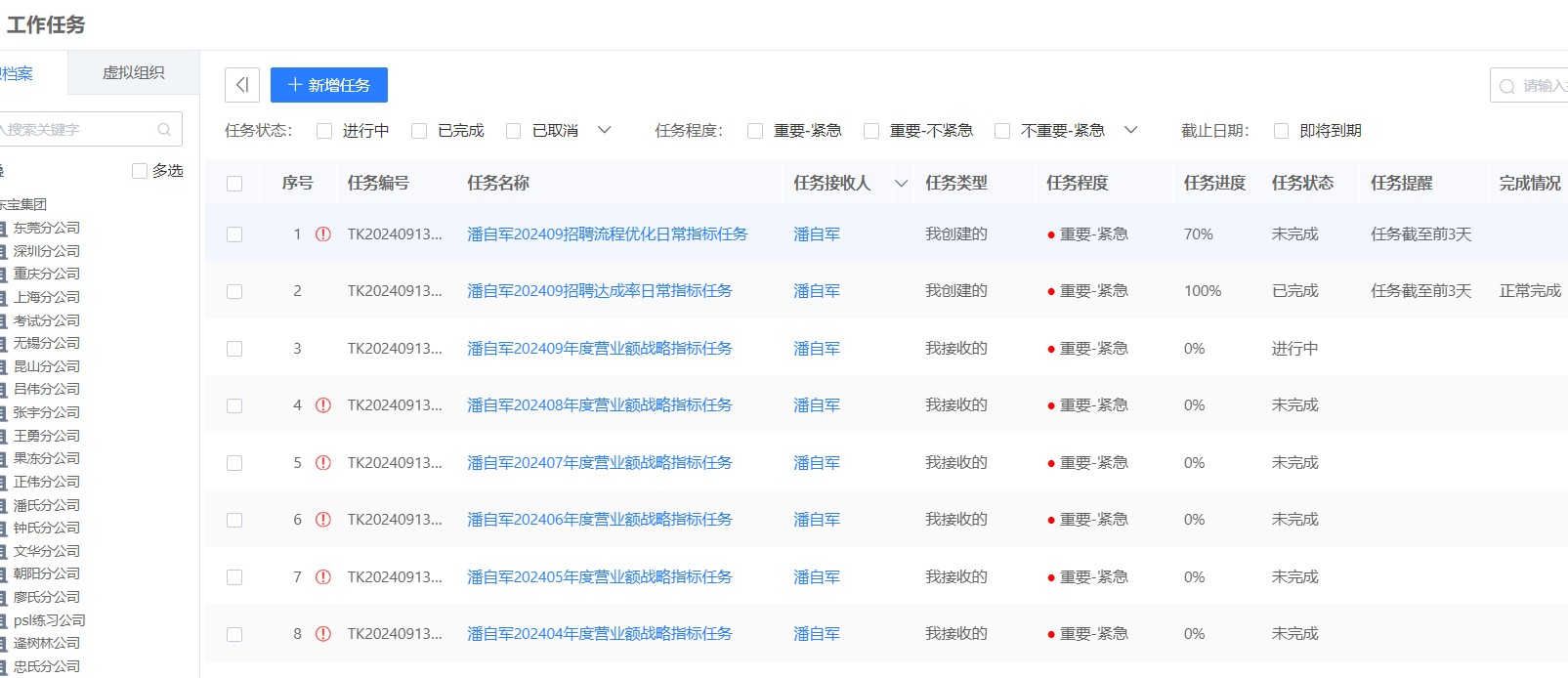
1、結果指標分解至過程指標

2、過程指標分解至任務

3、任務跟進日常化

4、任務進度數字化

上一篇:戰略目標分解,保證考核目標不偏航
下一篇:員工參加培訓后的效果評估功能