2022-08-13
5546次
尤朝陽
近日,杭州一22歲女孩加班猝死的事件在網上曝出,杭州市濱江區人力資源和社會保障局官方微博29日發布了相關核查通報,關于企業用工管理的規范問題再次受到各界關注。

近幾年,東寶人才研究院對86家企業進行了走訪調研,包括19家汽車零部件,15家新能源行業,46家手機及零部件,4家LED照明及4家新材料,其中行業頭部企業3家營業額超百億,通過這些企業2020的勞動糾紛案件數量與2021年糾紛案件數量的對比發現,糾紛案件數量漲幅最小的企業都達到了33%,勞動糾紛案件最高的企業更是達到了176%,平均一家企業每年因勞動糾紛發生的人工成本超過48萬。
一方面是因為我國市場經濟體系的不斷完善和經濟結構調整步伐加快,經濟的多種實現形式,特別是民營企業用人機制不盡規范,勞動爭議案件數量也在逐年上升。
其次是市場經濟的發展和各方面改革的深入,全民的法制意識明顯增強,維權意識隨之增加,導致勞動爭議案件增長較快。也是我國勞動體制改革、用工條件正在完善的表現。
東寶人才研究院對這些糾紛案件背后的主要管理風險,進行了一些分類整理,同時也給出了針對性的解決方案,希望能對企業日常的用工管理提供一些參考:
管理現狀1:員工每日工作時長超過8小時,每周工作時長超過44小時,對于超過的時長,企業沒有按照勞動法支付1.5倍加班工資也沒有安排調休。
勞動爭議:
勞動法第四章第三十六條規定:國家實行勞動者每日工作時間不超過八小時、平均每周工作時間不超過四十四小時的工時制度。
解決方案:可通過DHG數字化人才治理系統的參數化配置,對員工的工作日時長控制、周工作日累計時長、加班時長進行控制。

管理現狀2:員工平時在平日下班后存在有效刷卡數據、休息日有刷卡數據,但企業加班時長沒有對員工工時進行統計補休或加班工資支付。
勞動爭議:
第四十四條:有下列情形之一的,用人單位應當按照下列標準支付高于勞動者正常工作時間工資的工資報酬:
(1)安排勞動者延長工作時間的,支付不低于工資的百分之一百五十的工資報酬;
(2)休息日安排勞動者工作又不能安排補休的,支付不低于工資的百分之二百的工資報酬;
(3)法定休假日安排勞動者工作的,支付不低于工資的百分之三百的工資報酬。


解決方案:可通過DHG數字化人才治理系統設置有效打卡時間,控制員工刷卡時間點;內置參數,將員工延時上班時數轉換為加班時數,用于薪資發放或調休。
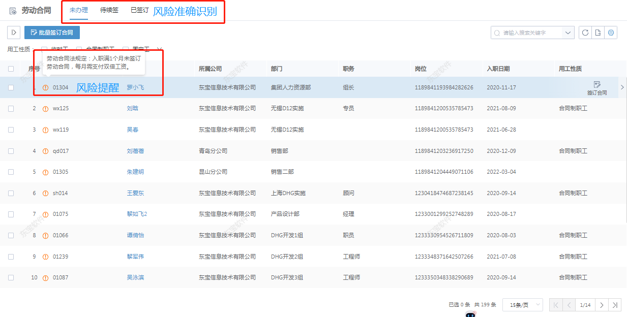
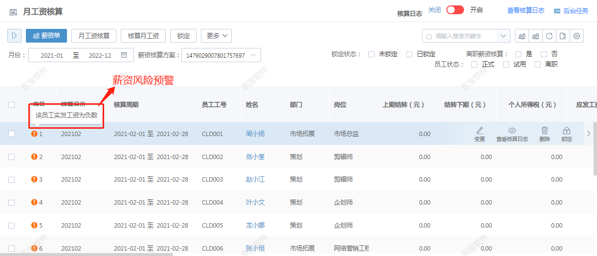
管理現狀3:由于大批量員工入職或疏于管理,員工入職后未能及時簽訂勞動合同,普遍存在簽訂后的勞動合同發生丟失、損毀等情況;薪資核算過程中由于計算錯誤或者特殊情況,薪資低于地區最低工資標準造成的勞動風險。
勞動爭議:
第七條:用人單位自用工之日起滿一年未與勞動者訂立書面勞動合同的,自用工之日起滿一個月的次日至滿一年的前一日應當依照勞動合同法第八十二條的規定向勞動者每月支付兩倍的工資,并視為自用工之日起滿一年的當日已經與勞動者訂立無固定期限勞動合同,應當立即與勞動者補訂書面勞動合同。
第四十八條:國家實行最低工資保障制度。最低工資的具體標準由省、自治區、直轄市人民政府規定,報國務院備案。用人單位支付勞動者的工資不得低于當地最低工資標準。



解決方案:可通過DHG數字化人才治理系統內置員工入職資料清單校驗、勞動合同簽訂、續簽預警、最低薪資預警等預警提醒條件,自動觸發消息至HR管理端,進行及時的業務辦理,有效管控勞動風險。
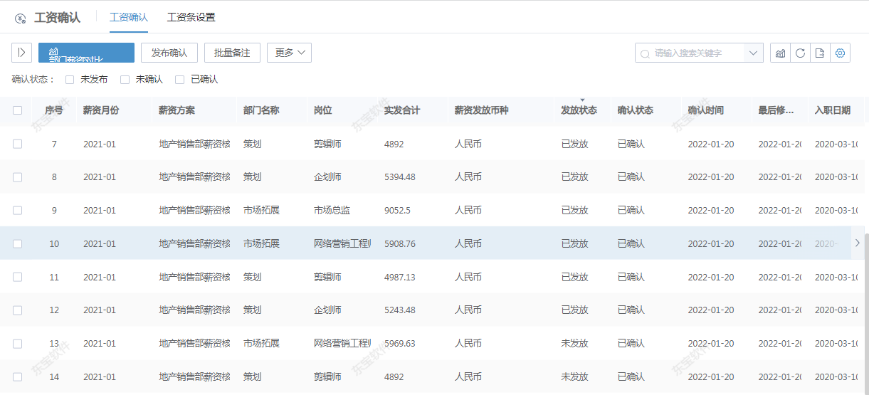
管理現狀4:員工薪資結果需要打印出來給員工簽字,簽字工資條線下管理管理難以保存,容易丟失和損毀。員工考勤、相關管理制度沒有員工簽字,不具備法律效力,發生勞動風險后缺乏有效證據舉證,面臨敗訴風險。
勞動爭議:
工資支付暫行規定:用人單位必須書面記錄支付勞動者工資的數額、時間、領取者的姓名以及簽字,并保存兩年以上備查。用人單位在支付工資時應向勞動者提供一份其個人的工資清單。
解決方案:

(1)可通過DHG數字化人才治理系統對接電子簽章平臺,員工可以直接移動端操作確認相關文件,系統會將確認后的文件進行保存記錄,方便后續管理調取。


(2)介入自助端實現管理端到自助端的信息交互,打通管理最后一公里,實現數據留存,方便查閱舉證,規避因管理疏忽造成的勞動風險。