2024-10-30
215次
網站運營
在企業績效管理體系的推行進程中,績效平臺與績效機制之間存在的脫節現象尤為顯著,具體體現在以下幾個方面:
1、數據集成障礙:當前的績效平臺未能有效實現與業務、財務等核心系統的無縫對接,導致關鍵績效數據無法自動抓取與整合,影響了績效評價的準確性和時效性。
2、戰略適應性不足:隨著企業戰略目標的動態調整,績效指標及員工績效目標也需相應變化。然而,現有的績效平臺在敏捷性方面存在短板,難以迅速適應戰略變化,導致績效管理與企業戰略脫節。
3、過程管理缺失:績效過程追蹤仍停留在表面,缺乏深入且有效的管理手段。這不僅使得管理者難以實時掌握績效進展,還削弱了對績效問題的及時發現與解決能力,影響了績效管理的整體效果。
1、實現績效相關數據實時更新:
①構建數據集成平臺:采用先進的數據集成技術,將業務、財務等系統的關鍵績效數據實時同步至績效平臺,確保數據的準確性和時效性。
②自動化數據抓取工具:開發或引入高效的數據抓取工具,自動從各源頭系統捕獲所需數據,減少人工干預,提高數據收集效率。
③數據監控與校驗機制:建立數據監控與校驗流程,定期對抓取的數據進行復核,確保數據的完整性和準確性,為績效評價提供堅實的數據基礎。
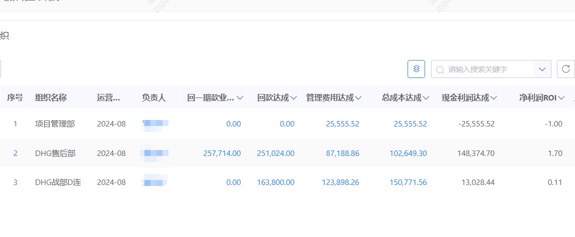
2、經營結果實時呈現:
①定制化報表與儀表盤:根據管理層和員工的需求,設計定制化的績效報表和儀表盤,實時展示關鍵經營指標和績效數據,幫助決策者快速把握經營狀況。
②預警與通知系統:設置預警閾值,當經營結果偏離預期目標時,系統自動觸發預警通知,確保管理層和相關部門能夠及時響應并采取措施。
③交互式數據分析工具:提供易于使用的交互式數據分析工具,支持多維度、深層次的數據挖掘與分析,幫助用戶深入理解經營結果背后的原因和趨勢。
3、出現問題實時糾偏:
①建立問題反饋與跟蹤機制:設立專門的績效問題反饋渠道,鼓勵員工和管理層積極報告績效執行過程中遇到的問題。同時,建立問題跟蹤系統,對反饋的問題進行登記、分配、解決和驗證,確保問題得到及時有效的處理。
②敏捷調整績效方案:針對發現的問題,組織相關部門和人員進行深入分析,快速制定并實施績效調整方案。同時,保持績效方案的靈活性,根據業務發展和市場變化進行適時調整。
③強化績效溝通與輔導:加強管理者與員工之間的績效溝通,定期進行績效面談和輔導,幫助員工理解績效目標、識別自身不足并制定改進計劃。通過持續的溝通與輔導,促進員工績效的持續提升和問題的有效糾偏。
1、項目型績效管理數字化

2、績效結果數字化

3、經營數據數字化

4、績效分析數字化

上一篇:多公司人員交叉下的組織架構管理